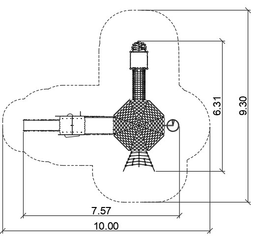
Treehouse 10

Devices easily accessible with a house with a treatment staircase, the upper platform of which protrudes above the base. The house is on an octagonal plan with an octagonal roof. The whole is densely covered with forest-themed applications. The platforms are made of anti-slip plates supported by welded steel frames. Railings made of 15 mm thick HDPE boards with milling reinforced steel frames at the top and bottom.

Product code
0096003
Age group
3-12 years
Number of users
20
Inclusiveness
No

Length
7,57 m
Width
6,31 m
Height
4,5 m
Area of the safe zone
54,79 m2
Fall height
1,50 m
Zone dimension
10,0 x 9,3 m

 

Do you have any questions?

Write to us