Karuzela Dysk

Kod produktu
0040007
Grupa wiekowa
3-12 lata
Liczba użytkowników
14
Inkluzywność
Nie

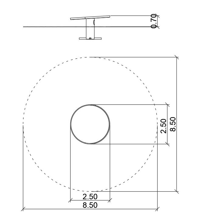
Długość
2,50 m
Szerokość
2,50 m
Wysokość
0,70 m
Obszar strefy bezpieczeństwa
56,81 m2
Wysokość upadku
0,70 m
Wymiar strefy
8,50x8,50 m

Masz pytania?

Napisz do nas