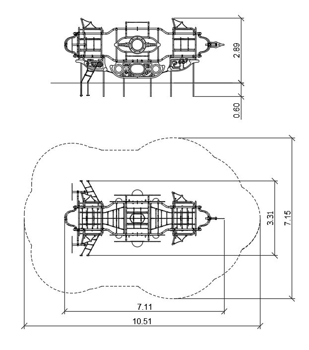
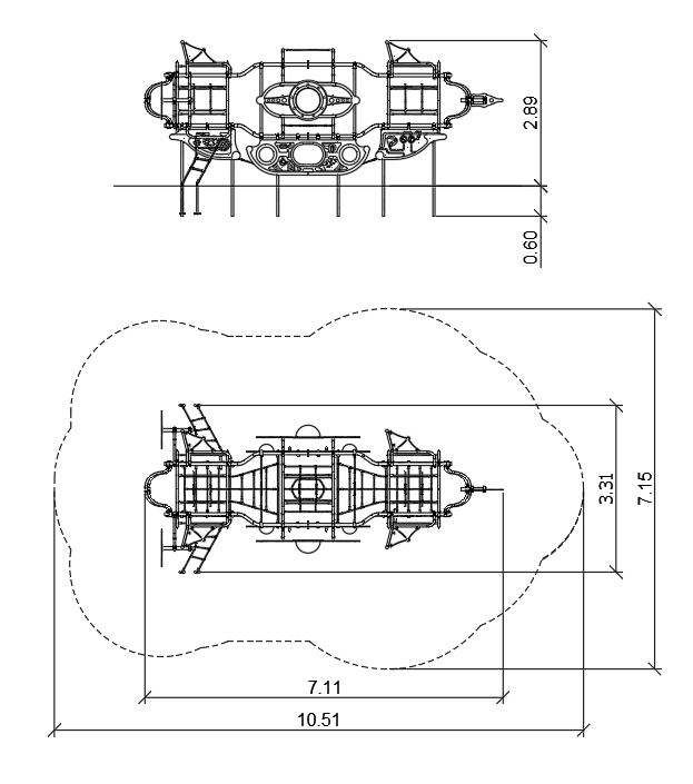
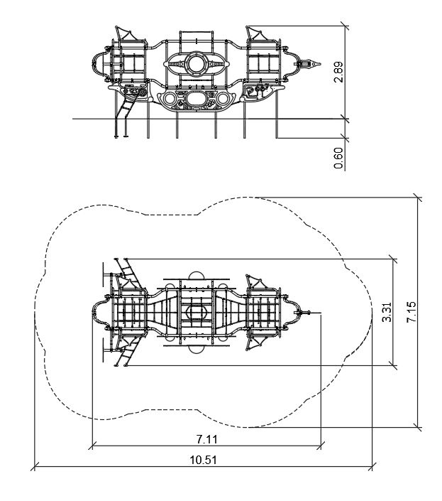
Sterowiec

Urządzenie w kształcie steampunkowego sterowca. Urządzenie na słupach okrągłych z obejmami aluminiowymi. Urządzenie składa się z 1 podestu pokrytego powłoką antypoślizgową, 8 kół zębatych, 2 wajch, 6 pokręteł, 3 cylindrycznych linariów przestrzennych, 2 skośnych drabinek linowych, 2 siatek linowych, 2 wirników obrotowych, 6 bulaji. Płyty HPL pokryte licznymi nadrukami UV i frezowaniami.

Kod produktu
0240004
Grupa wiekowa
4-12 lata
Liczba użytkowników
22
Inkluzywność
Nie

Długość
3,31 m
Szerokość
7,11 m
Wysokość
2,89 m
Obszar strefy bezpieczeństwa
59,47 m2
Wysokość upadku
2,70 m
Wymiar strefy
7,15 x 10,51 m m

Masz pytania?

Napisz do nas